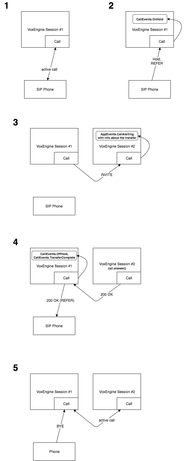
A lot of traditional telephony services rely on this function. It lets callee transfer a call to another person by pressing special transfer button and entering another person's number (usually extension number). It's called blind transfer because the person who transfers the call won't talk with the person to whom he transfers it.
The following scheme describes the process in Voximplant terms:
Blind transfer is "old but not obsolete" (c) Terminator





